mainmenu

Norchard Line Concentrator

Typical D phone installation

This photo shows the sort of installation we are trying to replace with something better.

Previously, all signal post telephones (SPTs) had been connected to the signal box using "D" Phones at each end. These phones use a 12 volt battery for signalling and a 3 volt battery for speech and the batteries were a constant source of annoyance. They required changing every so often and of course they were scattered about the railway system making them difficult to service. Then one of the SPTs was knocked off its post by a passing works train and left on the ground. By the time it was reported it had been full of water for some weeks and would no longer work. It was a phone that we could not replace as spares of that type could not be found.

CB type SPT

As a result we collected all the spare SPTs that we have and wiped them up as ordinary CB teles. At the same time we decided to build a line concentrator for Norchard. This has a 50 volt power supply, normal loop calling and 17 hertz ringing and uses the simple CB SPTs.

Once it became known that we were attempting to build a concentrator, help came from Chris Hall of the Mid Hants Railway and Mick Bulman of the Telephone Heritage Group. Between them, and with the relay sets spare in our store, we had sufficient equipment to build a system.

At the design stage we were referred to the IRSE recommendations for line concentrators and these can be summarised as :

"The design must include a display of the identity of the telephone (and thus the signal number and by inference, its location) at the signaller's control panel.......The system must ensure that only one conversation can take place to each signaller at any one time, thus preventing the overhearing of operational messages by other drivers. Systems should allow the signaller call back to the driver.
The modern Signal Post System is regarded as a secure system. There has to be a high degree of assurance that the lineside telephone connected during a call is at the location indicated at the signaller's console and that no other call can be inadvertently connected or interrupted whilst the call is in progress. All incoming calls from within a signalling area are directed to the signaller controlling that particular area and in turn outgoing calls to lineside telephones in the area are restricted to that signaller. All telephones at signals operate as CB extensions to the particular signaller's keyboard."

This meant that we were not providing a switchboard but a key and lamp system where it would not be possible to operate more than one speak key at a time.

Mick Bulman came up with a concentrator head (the key and lamp unit) supposedly from a Southern Region source. The keys had to be laid out differently and the whole head had to be completely rewired but it is now a lovely piece of kit for a signal box. It caters for a maximum of nine SPTs and has a simple line tester built in for engineers to use when fault finding on the lines. This was felt desirable as the lines will not pass through the site's MDF and will otherwise not be easy to test.

Concentrator Head General View


Operation of the Line Concentrator

Concentrator Head Key and Lamp Layout

1) SPT calls, box answers.
The SPT receives ring tone, the call lamp flashes on the concentrator, the main call light glows and the bell rings.
The Box answers within time out period (2mins 30secs) by throwing the black SPT and green Operator keys down. The ring tone stops, the call lamp goes out, the main call light goes out and the bell stops.
The Signalman can speak to the SPT.
On release from the call, should the signalman clear first, the SPT will recall the concentrator until the SPT clears.

2) SPT calls, no response from Signal Box
The SPT receives ring tone, (if the signalman has thrown his out of use key, then the SPT receives NU tone), the call lamp flashes on the concentrator, the main call light glows and the bell rings.
After time out period (2mins 30 secs) the call lamp glows permanently on the concentrator, the main call light continues to glow but the bell stops. SPT receives NU tone.
Any other calling SPT receives NU tone and cannot call the box.
If the SPT continues to call, then, when the box is again staffed the glowing main and call lamps indicate a problem. The faulty SPT can be isolated by operating the black circuit out of use key for that SPT. This action restores the system to normal. The calling SPT is isolated. The first action should be to check that the handset has been correctly replaced. If it has, then the fault needs to be reported to the Electrical and Telecoms Group for investigation.

3) Signalman calls an SPT, SPT answers.
The signalman throws the black key for the SPT required and his green operator key.
The signal man presses the green ring key briefly. Ringing is sent to the SPT and the call lamp flashes at ringing cadence to assure the signalman that the SPT is being rung.
When the SPT answers, the ringing stops and the call lamp goes out.
The Signalman can speak to the SPT.
On release from the call, should the signalman clear first, the SPT will recall the concentrator until the SPT clears.

4) Signalman calls an SPT, No response from SPT.
The signalman throws the key for the SPT required and his operator key.
The signal man presses the green ring key briefly. Ringing is sent to the SPT and the call lamp flashes at ringing cadence to assure the signalman that the SPT is being rung.
After time out period (2min 30sec) the call lamp dims and ringing stops.
To restart ringing, the signalman will again need to press the green ring key briefly.

5) Miscellaneous Operations.
a) Normally the bell will ring for as long as an SPT is calling, although the bell will stop after the time out period of 2mins 30sec. Throwing the blue short key to the short position will result in the bell ringing for just a second or so if this is preferred. This does not affect the lamps from indicating a caller.
b) If the bell is ringing and the signalman wishes to silence it, a quick press of the blue stop key will silence the bell temporarily.
c) The six keys at the top left are for the use by engineers in testing SPT lines and are not for use in normal operations. They will use the terminals to connect test instruments to the concentrator test circuit.
d) When the box is unattended the green box out of use key should be thrown. This connects NU tone to any calling SPT so that the caller is aware that the box is unattended.


Circuit Diagrams

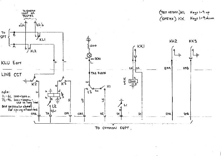
Line Circuit

Line Circuit
Show Page as a PDF (177Kb)

Each line key has three positions. Centralised it connects the line circuit to line to await a call. Downwards (KK) it operates a K relay which switches the line through to the common equipment. Upwards (KL) the line is connected to the line tester. The tester normally sends an earth on both legs to line, therefore any line with the key up is normally earthed both legs and can be left in that state if it should go faulty.

The lamp is normally out. If the SPT calls then it is flashed at a rapid rate. When the call is answered the lamp goes out. Should the call not be answered after a timeout period (2min 30sec) the lamp remains permanently lit. If the signaller calls the SPT, he operates the line key and then momentarily operates a ringing key. This causes ringing to be sent to line and the line lamp flashes slowly in synchronism with the ringing cadence.


Common Equipment and Operator's Circuit

Common Equipment and Operator's Circuit
Show Page as a PDF (309Kb)

The common equipment has a standard transmission bridge which is connected between any SPT and the signalman's telephone circuit by the operation of the SPT speak key and the operator's key.

The PHA relay circuit is of interest. It was derived from the IRSE text book on Railway Signalling and consists of a relay connected across a bridge circuit. If no speak key is thrown, then no current flows and the PHA relay remains released. If one speak key is thrown, then 450 ohm earths are connected to each side of the PHA relay which is balanced and remains released. If more than one key is thrown then 450 ohms is connected to the right hand side of the PHA relay and 225 ohms or less on the left hand side. This unbalances the circuit and current flows through PHA to operate it. PHA1 disconnects the earth from the SC wire thus preventing any K relay operating in the line circuits. PHA2 also operates the main warning light and the buzzer to tell the operator that he is misoperating the equipment.

A calling L relay in a line circuit, or the PHA relay operating lights the main warning lamp and starts the buzzer. At the same time relay SB starts its slow to operate feature. It takes a second or two to operate. The long/short buzzer key can select whether to use the period after the SB operation to ring the buzzer continuously or the short time before the SB operation to give just a quick call on the buzzer. In either case the main lamp lights continuously. If the sound of the buzzer is annoying, it can be silenced temporarily by operating the buzzer cut off key momentarily. This operates relay BCO which holds to the calling condition. It disconnects the buzzer but leaves the calling condition on to light the main lamp.

Any calling L relay or the operation of the ringing relays RR and RA extends a start earth to the tone, ringing and time pulse relay set.

The ring trip circuit is of interest as it had to be modified from the standard circuit element. The ringing converter has a 2150 ohms output winding on the coil. Whilst this would ring a bell satisfactorily it would not permit sufficient direct current to flow to allow the F relay in the circuit to trip the ring. In the end it was decided to modify the ringing circuit so that DC only flows during the "silent period". Relay RT was added which operates each time ringing occurs. During the silent period RT is released and connects a 270 ohm battery out to line in place of the 2150 ohm earth from the converter. During this period sufficient current flows around a looped line to operate the F relay to trip the ring. Ring trip though cannot occur during the ringing phase.


Tone, Ringing and Time Pulse Equipment

Tone, Ringing and Time Pulse Equipment
Show Page as a PDF (318Kb)

The timing relays are started by an earth on the STA lead. This operates relay ST which in turn causes relays FE and FR to interact and allow relay FE to provide a "flicker earth" pulse. This flicker earth at FE5 flashes any calling lamp rapidly. From here the relay set times out to around 2 mins 30secs.

Relays RA and RB divide the FE1 pulses by two, RC and RD reduce the pulse frequency by a further factor of two, as do relays RE and RF. Over all the pulse frequency is divided by eight. Various timings can be picked off the relay dividers. In particular RGB is operated in a similar cadence to British Ringing and then RUS covers the short gaps in the cadence to give a US type ring. In practice the British ring is not too satisfactory as the rings are too short, so the US ring has been adopted for this installation.

Each time the dividers end a sequence a type 3 uniselector T is operated. Each time T completes a sweep around its bank it operates uniselector TA. When TA moves to outlet 3 relay TP operates. This is after 2 mins 30 sec but the timing can be altered by strapping the earth to a different TA outlet. This releases relay ST and at the same time holds to the start condition. The relay set stops timing. TP3 stops the buzzer from sounding (but the main lamp stays alight). TP7 stops any outgoing ringing. TP5 stops the calling lamp flashing and causes it to glow permanently although at a somewhat reduced brilliance. TP1 connects NU tone to any caller. The situation can be released by the signalman operating a line disconnect key or a speak key.


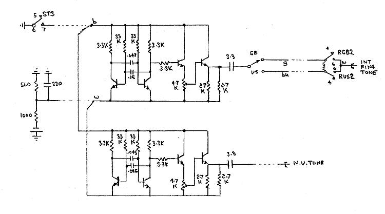
Tone Generators

Tone Generators
Show Page as a PDF (404Kb)

Both tone generators are similar except for the size of the coupling capacitors. The first two transistors act as a multivibrating pair producing something like a square wave. The third transistor is simply an emitter follower to drive the low impedance of the volume control. The fourth transistor is a further emitter follower with a low impedance output sufficient to produce loud tones in a distant telephone. The resistor network on the left reduces the power feed line to around 18 volts to prevent the transistors being over voltaged and destroyed.


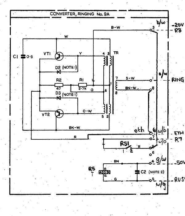
Ringing Converter

Ringing Converter 9a (modified)
Show Page as a PDF (433Kb)

When the concentrator reached the testing stage it was found that the ring converter has a 2150 ohms output winding on the coil. Whilst this would ring a bell satisfactorily it would not permit sufficient direct current to flow to allow a relay in the circuit to trip the ring. In the end it was decided to modify the ringing circuit so that DC only flows during the "silent period", at which time sufficient current flows from a battery which temorarily replaces the ringing converter earth. Ring trip cannot therefore occur during the ringing phase.


Line Test Facility

Line Test Facility
Show Page as a PDF (58Kb)

The line tester normally provides earth both legs on the common wires to the line disconnect keys. Even if more than one line is disconnected, and therefore connected to the tester, they will be firmly earthed and be unable to gain access to each other.

To test a line, only the line disconnect key for that line can be operated. The tester then operates very like any other GPO/BT line tester using a voltmeter connected to the voltmeter terminals T1 and T2. It was difficult to measure loop resistances with local batteries and voltmeter shunts in the usual way, so a "loop" key was added to bring the line out to a separate pair of T3 and T4 terminals. It is proposed to connect a digital ohmeter to these terminals to read loop resistances when required.


Line Concentrator Power Supply

Power Supply

Show Page as a PDF (41Kb)


The relay set and power equipment located in the lower room of the signal box

The relay set and power equipment located in the lower room of Norchard signal box.

Other Diagrams
Show Line Circuit Relay Springset Allocations as a PDF (125Kb)
Show Rack Relay Strip Interwiring as a PDF (59Kb)
Show Head Strip Connection Layout as a PDF (37Kb)
Show Rack Strip Connection Layout as a PDF (25Kb)


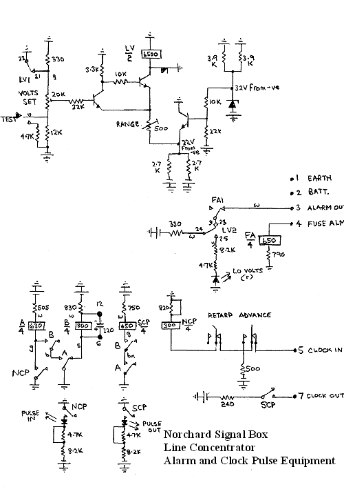
Alarm Send and Clock Pulse Receive Equipment

Alarm and Clock Pulse Equipment Alarm and Clock Pulse Equipment

Alarm and Clock Pulse Equipment Diagram

The transistor circuit detects when the busbar voltage goes low, operates relay LV which removes the normal battery from the alarm wire to light the red warning light in Norchard exchange.
The zener didode and the right hand transistor maintain a 22 volt condition for the emitters of the other transistors, whatever the busbar voltage.
Normally this voltage is sufficiently high to hold the left hand transistor on. This holds the centre transistor off and relay LV is released.
As the bus bar voltage drops, it will reach a value which no longer maintains the left hand transistor on. Its collector goes high and turns on the centre transistor and relay LV. This removes the battery from the alarm wire. LV1 also reduces the voltage to the left hand transistor further so that it is held off more firmly, thus preventing relay chatter.
The bias on the emitters is increased due to the higher current flowing through the centre transistor. This means that the switch on voltage for the left hand transistor has increased and the transistor will not switch on until the volts have risen sufficiently.
The range and volts set pots are set so that the LV relay operates when the volts drop to 46 and reoperates when the volts rise to 52.

The equipment also receives 30 second battery pulses on the second wire of a pair to Norchard exchange. These pulses operate relay NCP which in turn generate a standard length pulse from relays A,B and SCP to operate clocks in the signal box. The length of the output pulse is dependent on the value of the capacitor across the B relay.


mainmenu

Page provided by John Bathgate

This page was last updated on
2nd August 2013