mainmenu

Lydney Junction Signal Box - Stars Alarm Relay Set

INTRODUCTION

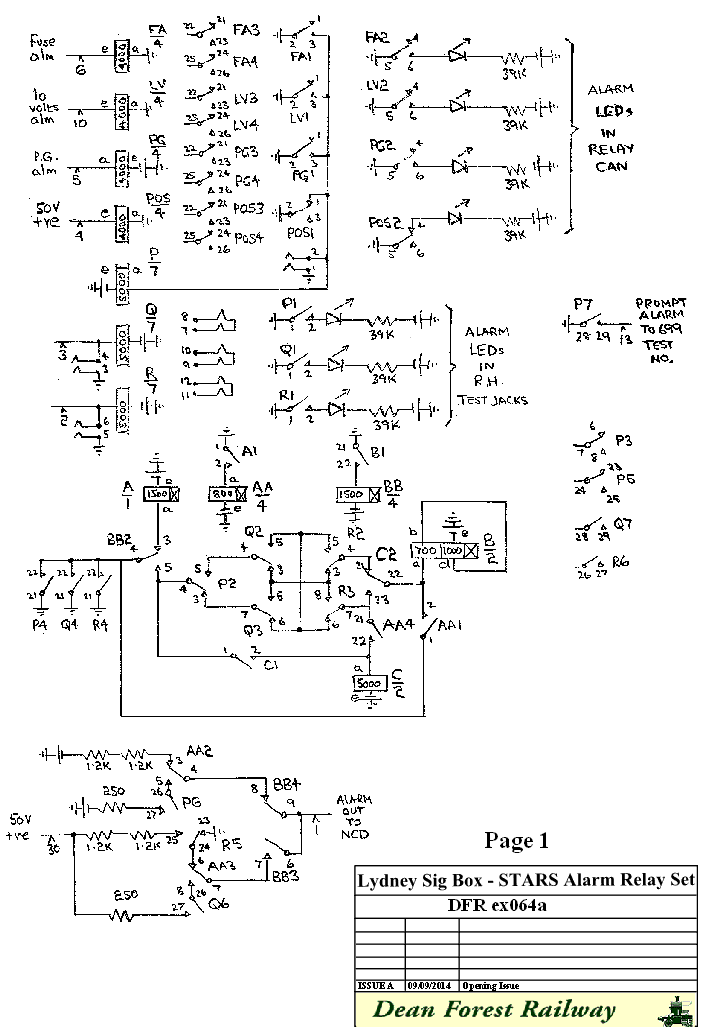
This relay set is unlike the similar set at Parkend in that it has been designed to consume as little power as possible, as the power supply at Lydney Signal Box has a limited output. All relays (except POS monitoring the 50 volt positive supply) are normally released and when operated have a high resistance to reduce current drain. The LEDs are also small with high resistances in series with them.

ALARM RECEPTION

Fuse Alarm. Normally relay FA is released until a blown fuse places a battery condition on the FA wire on the common services block. This in turn operates relay FA. FA2 lights a red LED within the relay set can. FA1 operates relay P. P1 lights the red LED in the test jack to indicate an exchange alarm. The operation of relay P initiates the alarm extension circuit to send the exchange alarm condition to Norchard.

PG Alarm. Normally relay PG is released until a line circuit held under fault conditions places an earth on the PG wire on the common services block. This in turn operates relay PG. PG2 lights a red LED within the relay set can. PG1 operates relay P. P1 lights the red LED in the test jack to indicate an exchange alarm. The operation of relay P initiates the alarm extension circuit to send the exchange alarm condition to Norchard.

50 Volts Positive Alarm. Normally relay POS is held operated by the 50 volt positive supply. Should the supply fail, relay POS releases. POS2 lights a red LED within the relay set can. POS3 operates relay P. P1 lights the red LED in the test jack to indicate an exchange alarm. The operation of relay P initiates the alarm extension circuit to send the exchange alarm condition to Norchard.

Low Volts Alarm. Should the battery voltage "go low", this will place an earth onto U point 10 and operate relay LV. LV2 lights a red LED within the relay set can. LV1 will operate relay P. The operation of relay P initiates the alarm extension circuit to send the exchange alarm condition to Norchard.

Lydney Signal Box signals alarm. If a signals fault occurs, a full loop from the signals equipment will cause relay Q to operate. Q1 lights the red LED in the test jack to indicate a signalling fault. The operation of relay Q initiates the alarm extension circuit to send the exchange alarm condition to Norchard.

The R relay circuit. This is spare at present but could accept a fault condition from any other equipment.

ALARM EXTENSION

Before looking at the actual diagrams in use, it may help to consider the means by which multiple alarm conditions are fed from Parkend to Norchard exchange. This all relay method was suggested by Peter Wood from the Signalling Group and we are grateful to him for his ingenuity.

The circuit uses four main DC signals over the alarm wire, ie a light negative condition (a 2400 ohm 50 volts negative signal), a heavy negative (a 250 ohm 50 volts negative signal), a heavy positive signal, and a light positive signal. These signals are applied one after the other as required to indicate the alarms present at Lydney Signal Box.

At Lydney Signal Box, there are three relays, P, Q and R which are normally released when there are no alarms. P4, Q4 and R4 prevent relays A, AA, B and BB from operating. With AA2 and BB4 released, a light negative condition is sent to line on the single wire to Norchard. This holds relay LN operated, but does not provide sufficient line current to flow to operate relay H. LN2 operates relay W which at W1 lights the green alarm clear lamp. W1 also ensures that relays X and Y are not held from any previous alarm condition. This is the normal standing condition. Should the power fail at Lydney Signal Box or the cable become faulty, LN will release and the alarm clear lamp will dim.

Should a fault occur then P, Q and/or R will reoperate. Say relay P operates. P4 initiates a sequence of conditions on the wire to Norchard. P4 released, operates relay A and then AA. AA1 operates B and then BB. BB2 releases relay A and AA. Relays B and BB hold via P4 released, BB2 operated, P2 operated, Q2 and R2 released and C2 released.

During this sequence the following conditions are sent to line, AA operates and at AA2 connects heavy negative to line via P6, then BB4 operates and line condition is disconnected as AA3 is operated but Q6 is released. When AA3 releases the line is earthed.

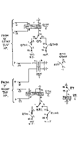
At Norchard, we started with LN and W operated. When the heavy negative condition occurs relays H and HH also operate. LN2 and HH2 release W and operate relay X which holds via X1 to the W1 earth. X3 lights the alarm lamp appropriate to the original P relay. When the line becomes disconnected or an earth is present, relays LN, H and HH release, but X remains held to the W1 earth.

If any further faults occur after the first has been sent and registered, the P, Q, R and C contact arrangement ensures that any movement of P, Q and R will cause the release of B and BB, the reoperation of A and AA, the reoperation of B and BB which will then hold to any P4, Q4 and R4 earth.

The sequence is : 1) light negative condition to operate LN and W and at W1 reset any X or Y relays.
2) heavy negative condition should P be released to operate LN, H and HH and set relay X.
3) heavy positive condition should Q be released to release LN and operate LP and set relay Y.
4) light positive condition should R be operated to release relay H and HH and operate relay Z. In this case the light positive condition remains on the wire to hold LP and Z. Should R not be operated then the final condition on the wire is an earth which releases LN, LP and H and HH but leaves X or Y locked to the W1 earth until the faults are cleared. In the alarm sending element, P6, Q6 and R5 prevent the sending of any condition where a fault is not present.

TEST NUMBERS



Should an exchange fault occur, relay P will operate. At P7 this will extend an earth to the prompt alarm wire and to the 699 test number to change the tone from inverted ringing to NU Tone.

Two further test number circuits have been provided within the relay set. Test number circuits 2 and 3 are controlled by relay Q and R and so can be used to indicate signals faults should the signals staff require this facility.

Show STARS Alarm Relay Set Circuit as a PDF (4 Pages)


mainmenu

Page provided by John Bathgate

This page was last updated on
9th September 2014