mainmenu

Norchard - Junction Call Count Meters

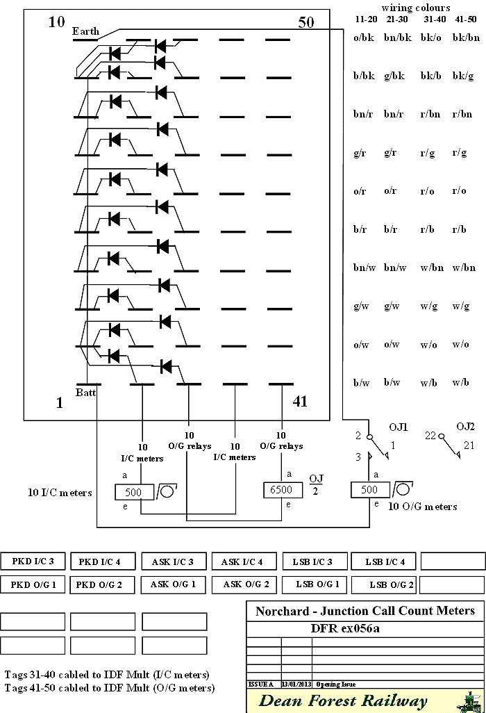
It was decided that we should count the number of junction calls made on the network. These meters are connected to the P wires of incoming selectors and outgoing auto auto relay sets.

On incoming circuits the meters are connected directly to the incoming selector P wires as the P wires are not in use for any other function.

On outgoing circuits a high resistance relay is connected to the incoming P wires of the auto auto relays sets. The use of high resistance relays means that the effect on the P wire battery circuit will be at a minimum.

The meters and relays are fed from a common battery. To avoid interconnections between the various P wires should the fuse blow, diodes are placed in series with the meters and relays. These diodes will all be "back to back" and will maintain a disconnection between P wires under a battery fail condition

Norchard Junction Call Count Meters


Show circuit for the Call Connect Meters as a PDF


mainmenu

Page provided by John Bathgate

This page was last updated on
13th January 2013